咨詢熱線:
15231779605
聯系人:許靜
手機:17320745790
電話:0317-8288830
傳真:0317-7773773
郵箱:3003200914@qq.com
發布時間:2019-01-17 05:58:35 作者:天碩聯軸器 瀏覽:4924

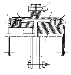
齒輪聯軸器用于聯接主軸與減速器的低速軸,這種起重配件聯軸器能傳遞的扭矩*大,而且能補償兩軸線間的微小誤差,但不能緩和沖擊。起重配件齒輪聯軸器的結構如圖1所示:
圖1齒輪聯軸器
1,2.外齒軸套3,4.內齒圈5,6.端蓋7,8.密封圈9.聯接螺栓在兩根軸端分別安裝外齒輪套1和2,并用鍵固定在各自的軸上。外齒輪分別與內齒圈3和4嚙合。內齒圈的法蘭再用螺栓聯接。為了減輕由于兩軸軸線傾斜和徑向位移微小誤差的影響,外齒的齒做成球面形,可以自動調位,使齒上的載荷分布得更均勻,同時也減輕軸承的負擔。這樣,減速機低速軸的扭矩,便通過外齒套、內齒圈、聯接螺栓、內齒圈、外齒套傳遞至主軸。聯軸器需注入粘度大而能流動的潤滑油脂,對聯接齒圈的齒進行潤滑。有防止油脂泄漏的密封裝置,用端蓋5,6分別壓住密封圈。內齒圈上有油孔9可以補充潤滑脂,用完時用油堵擰緊。